Pädiatrischer Safe-T-Tubus
Der Pädiatrische Safe-T-Tubus verfügt über einen abgewinkelten extraluminalen Schenkel, um das Absaugen und die Pflege der Luftwege zu erleichtern.
Bestellhinweise
Wird steril geliefert. Packung enthält 1 Tubus, 2 Ring-Stöpsel-Kombinationen.
Separat erworbenes Zubehör (321xxx) wird unsteril geliefert.
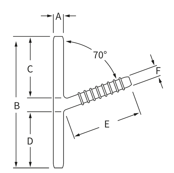
Größe | REF | Abmessungen (mm) | REF | ||||||
Transparent | Radio-opak | A | B | C | D | E | F | Ring-Stöpsel- | |
6 | BMP 320006 | BMP 32006R | 6 | 94 | 46 | 42 | 45 | 6 | BMP 321066 |
7 | BMP 320007 | BMP 32007R | 7 | 95 | 46 | 43 | 45 | 6 | BMP 321066 |
8 | BMP 320008 | BMP 32008R | 8 | 96 | 46 | 42 | 45 | 8 | BMP 321086 |
9 | BMP 320009 | BMP 32009R | 9 | 97 | 46 | 43 | 45 | 8 | BMP 321086 |

